소형, 2도어, 프런트 엔진 장착
차세대 밴티지 올해 말 공개 예정
차세대 밴티지 올해 말 공개 예정

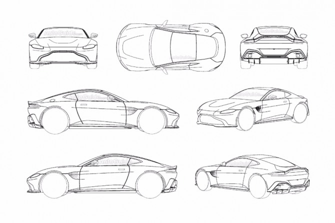
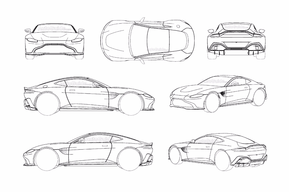
28일(현지 시각) 애스턴 마틴은 이번 주 일본 특허청에 제출한 스포츠카에 대한 디자인 특허 출원에서 소형, 2도어, 프런트 엔진을 장착한 신형 밴티지의 모습을 드러냈다.
새롭게 선보일 모델에 대한 스케치를 살펴보면 작년 이맘때 애스턴이 처음으로 유럽 특허청에 특허 출원했던 'DB11' 모델과 유사한 트랙 전용 벌컨(Bulkcan)과 얇은 미등을 떠오르게 하는 첨단 기술을 가진 특별한 디자인이라는 것을 알 수 있다.

전체적으로 유선형 형태를 선보이면서 완벽하고 특별하게 시선을 사로잡는 디자인 또한 DB11을 연상시킨다.
결국 차세대 밴티지는 DB11과 마찬가지로 완벽하게 재탄생한 섀시, 서스펜션, 스티어링 및 전자 장치 등을 통해 가벼우면서도 한층 더 강력해진 V8 & V12 엔진의 뛰어난 성능을 보여줄 것으로 기대할 수 있다.
차세대 밴티지에 대한 공식 데뷔 날짜는 아직 알려지지 않았으며, 이번 특허 출원이 실현되지 못할 가능성도 있다. 하지만 이번에 공개된 특허 출원 정보를 통해 외부 스타일을 엿볼 수 있는 것만으로도 충분히 만족할 수 있다.
애스턴 마틴의 차세대 밴티지는 올해 말 공개될 전망이다.
김길수 기자 gskim@g-enews.com