
20일(현지시각) 세계지재권기구(WIPO)는 삼성디스플레이가 ‘곡면 액정 디스플레이(Curved Liquid Crystal Display)’라는 명칭의 LCD 기술 기반 곡면엣지 스크린 양산 방법에 대한 특허를 출원했다고 발표했다.
91모바일 등은 27일(현지시각) 삼성전자가 높은 기능을 갖지만 가격이 비싼 곡면 OLED디스플레이를 이 곡면LCD로 대체하고, 중급 스마트폰부터 시작해 적용을 확대해 나가게 될 것으로 전망했다.
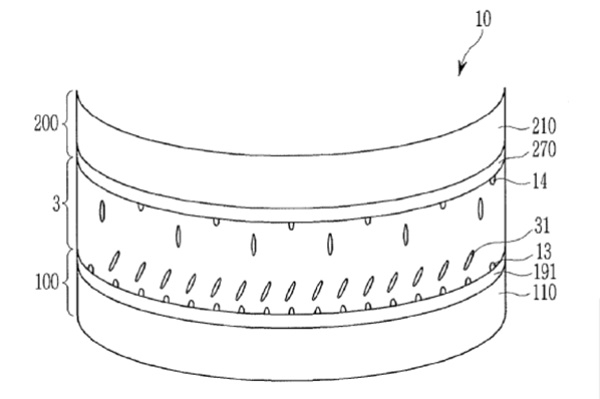
삼성디스플레이는 지난해 11월 이 기술에 대한 특허를 출원했다. 특허출원서는 평범한 유리뒷면을 플라스틱 솔루션으로 대체하는 LCD기술에 대해 언급하고 있다. 이는 제조과정에서 패널을 아무런 문제없이 구부릴 수 있음을 의미한다. 게다가 이는 디스플레이의 취약성을 줄여주면서 깨지기가 조금더 어렵게 만든다.
기존 LCD 디스플레이 뒷면은 일반적으로 구부러지지 않은 유리를 사용한다. 그러나 LCD 층의 양면에 플라스틱을 사용하면 유연한 화면을 갖게 될 뿐 아니라 떨어뜨릴 때 균열을 예방할 수 있다.

안타깝게도 이 특허는 어떤 단말기에 곡면 LCD 패널이 제공될지에 대해서는 언급하지 않고 있다. 그러나 삼성전자는 장차 여러 단말기에 이 곡면 엣지 LCD기술을 사용할 것으로 기대된다. 특히 곡면엣지형 LCD 스크린은 보다 값이 싸지면서 비싼 곡면 OLED패널의 대안이 될 것으로 보인다. 삼성전자는 지난 수년간 피트니스 추적기, 스마트폰, TV, 모니터 등에 유기발광다이오드(OLED)스크린 기반의 곡면 디스플레이를 사용해 오고 있지만 가격이 비싼 것이 약점으로 지적돼 왔다.
따라서 삼성전자가 곡면형 LCD 기술을 기반으로 한 스마트 폰, TV 및 기타 단말기를 선보이게 될 날도 멀지 않아 보인다. 삼성전자를 비롯한 여러 제조업체들이 내년에 접이식 스마트 폰을 출시할 것이라는 소문이 돌기 때문에 이 솔루션이 이러한 장치에서도 구현될 가능성이 있다고도 볼 수 있다.
현재 삼성디스플레이는 시급히 스마트폰용 곡면엣지 LCD패널을 만들 생각은 없는 것처럼 보인다. 따라서 갤럭시S10시리즈 가운데 보다 값싼 갤럭시S10라이트가 이 패널을 사용할 유력한 후보로 지목되지만 이 단말기는 훨씬더 전통적인 기존 평판 디스플레이를 사용하게 될 것으로 알려지고 있다. 하지만 장차 이 패널을 사용하더라도 결코 놀라운 일은 아닐 것이다.
한편 삼성전자는 몇 달전 주력폰의 기능을 중가폰(갤럭시A8s)에 적용함으로써 중가폰과 하이엔드폰 간 경계를 모호하게 만들었다. 만일 삼성전자가 곡면디스플레이를 보다 값싼 모델에 성공적으로 적용해 안착하면 이는 분명 경쟁사와 차별화되는 특징이 될 전망이다. 이 기술적 변형은 아마도 장차 보다 저렴한 폴더블(접이식)폰에도 사용될 수 있을 것으로 예상된다.
이재구 기자 jklee@g-enews.com