7일(현지시간) 발표된 애플의 고광택 제트블랙 아이폰7은 내년도에 올글래스 아이폰8에 앞선 사전 정지작업의 일환일 수 있다는 관측이 나왔다.
비즈니스인사이더는 최근 애플이 매우 반사성이 좋은 고광택성의 이른바 ‘제트블랙’ 버전을 내놓은데 대해 이같은 애플전문 분석가의 이론이 등장했다고 소개했다. 이미 페이턴틀리 애플은 지난 달 애플이 출원한 갤럭시노트엣지 버전과 닮은 특허출원 내용들을 소개했다. 지난 5월에는 애플에 아이폰용 알루미늄 케이스를 공급하는 캐처테크놀로지 CEO도 내년도 아이폰에 유리 케이스가 공급된다고 밝힌 바 있다.
■올글래스 아이폰8 가능성과 근거는?
이미지 확대보기보도는 이와함께 애플 분석가 대니얼 에런 딜거의 설득력있는 이론도 함께 공개했다.
그는 “애플이 아이폰 등장 10주년 째인 내년에 대규모 설계 변경을 하고 유리로 표면을 처리한 아주 새로운 바디 제품을 내놓을 것으로 믿어진다”는 주장을 폈다.
이와함께 “광택 있고 반사 잘되는 아이폰7 제트블랙 옵션은 이같은 마감재로 만든 아이폰7 및 ‘글래스’로 제작된 아이폰8에 대한 고객 반응을 떠보기 위한 미묘한 방식이라고 생각한다”고 말했다. (제트블랙은 특수처리를 통해 유리처럼 반짝이는 광택을 보여주지만 여전히 메탈바디 제품이다.)
따라서 순전히 이론이긴 하지만 내년에 아이폰 탄생 10주년을 맞이해 나올 아이폰8은 올글래스가 될 것이라는 예상도 충분히 해 볼 수 있다는 것이다.
■애플 지난 달 올글래스 엣지 스마트폰 특허출원
이같은 애플 아이폰8에 대한 전망을 단순히 이론이라고만 할 수는 없다.
지난 달 페이턴틀리애플은 애플의 특허받은 내용과 도면을 바탕으로 올글래스 아이폰 제작 가능성을 제시한 바 있다.
이 도면을 보면 애플이 특허받은 곡면 아이폰 컨셉도면들은 애플이 대부분 글래스로 된 아이폰을 만들려고 한다는 것을 보여준다. 애플은 타이완 소재 아이폰 케이스 공급사가 2017년에 올글래스 아이폰을 만들지도 모른다는 발언을 한 지 한달 후에 이 특허를 받았다.
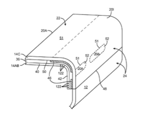
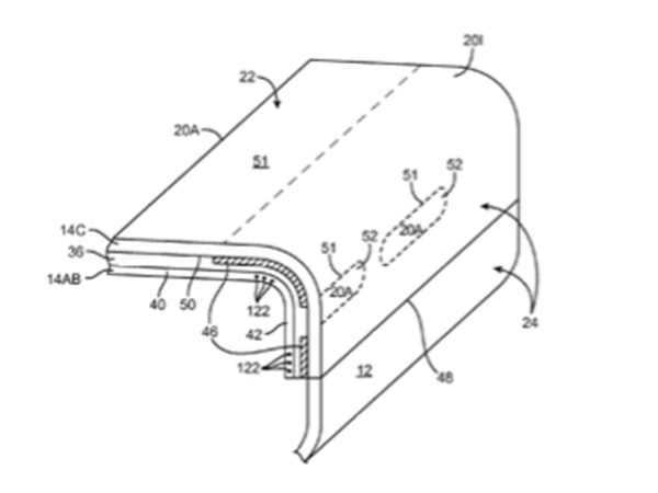
특허출원서는 단말기 주변 모서리(엣지)주변을 둘러싼 둥근 글래스를 가진 아이폰에 대해 설명하고 있다. 또한 액티브 버추얼 버튼이 포함된 글래스엣지가 ‘미니 플렉서블 엣지 디스플레이’ 역할을 하는지에 대해서도 자세히 설명하고 있다.
이미지 확대보기
이미지 확대보기위의 특허받은 애플디자인은 측면엣지가 특정기능으로 바로가기 할 수 있는 터치버튼이 될 수 있다는 것을 시사한다. 예를 들면 아이폰 컨트롤센터에서 찾을 수 있는 카메라앱열기, 플래시라이트켜기, 음악컨트롤 같은 기능이다.
아래 도면은 지난 2014년 나온 삼성 갤럭시노트엣지와 유사해 보인다. 이 단말기는 한쪽이 곡면 글래스 엣지 디스플레이로 돼 있어 탭을 통해 기능을 볼 수 있도록 설계됐다.
이미지 확대보기올글래스 아이폰은 디자인상으로는 예뻐 보이겠지만 얼마나 내구성이 뛰어날지는 분명치 않다. 기존 제품보다 낮은 높이에서 떨어져 단단한 물체에 부딪칠 경우 전체 표면이 깨져서 갈라질 위험이 있기 때문이다.
따라서 아이폰8에 올글래스가 채택될 경우 단말기 케이스 제조업체는 깨지기 쉬운 올글래스 아이폰 케이스를 만들기위해 어려운 시기를 보낼 것으로 보인다.
페이턴틀리애플은 또한 지난 2013년 애플에게 부여된 매우 비슷한 디자인컨셉도 소개했다.
이미지 확대보기애플이 특허받았거나 특허출원한 도면들은 소문 이상으로 애플의 올글래스 아이폰 제조 가능성이 높다는 것을 말해 주고 있다. 하지만 이것만으로 애플이 이같은 미래제품을 만든다고 말할 수는 없다. 애플은 신제품 아이디어에 대한 수많은 아이디어를 가지고 있지만 이들 가운데 상당수는 결코 빛을 본 적이 없기 때문이다.
■타이완 아이폰 부품협력사 CEO, “내년에 한개의 아이폰에 글래스 케이스 모델”
한편 니케이비즈니스도 지난 5월 중순 글래스 아이폰에 대한 내용을 보도한 바 있다.
이에 따르면 애플 아이폰용 알미늄 케이스 공급사인 앨런 홍 캐처테크놀로지 최고경영자(CEO)는 연례 주주미팅에서 “내가 아는 한 내년에 한개의 아이폰 모델은 글래스 케이스 모델을 받아들일 것이다...이는 캐처 테크놀로지의 매출에 영향을 주지는 않을 것이다. 여기에는 여전히 첨단 기술이 요구되며, 기존에 비해 싸지 않은 내구성있는 메탈프레임이 필요하기 때문이다”라고 말했다.
내년에 나올 아이폰8에는 여러가지 새로운 기능이 들어갈 것으로 알려지고 있다. 이 단말기에 무선충전기능, 엣지투엣지 스크린, 더 나은 카메라가 들어가는 것은 물론 올글래스 바디 제품이 될 것이라는 소문이 그것이다.
이재구 기자 jklee@




















![[뉴욕증시] AI 관련주 약세 속 3대 지수 하락](https://nimage.g-enews.com/phpwas/restmb_setimgmake.php?w=270&h=173&m=1&simg=2025121306330308913c35228d2f5175193150103.jpg)















