접을 때 주름없애기 위해 탄성률 다른 소재 사용
펴면 태블릿 크기 단말기 대신 기존 휴대폰 지향
펴면 태블릿 크기 단말기 대신 기존 휴대폰 지향
이미지 확대보기
이미지 확대보기
이미지 확대보기구글이 폴더블폰(접이식폰)을 준비중인 사실이 국제지재권기구(WIPO)에 출원한 특허도면을 통해 드러났다. 삼성전자나 화웨이처럼 펼치면 태블릿크기가 되는 단말기 대신 펼쳤을 때 기존의 휴대폰 크기의 단말기를 지향하는 것으로 보인다.
페이턴틀리 모바일은 13일(현지시각) WIPO가 지난해 12월 13일 발표한 구글 특허출원 내용을 발굴해 소개했다. 이특허는 지난해 6월8일 출원됐다.
현재 스마트폰시장 침체에 따른 폴더블폰 경쟁이 가열되면서 삼성전자가 지난달 20일 갤럭서폴드를, 중국 화웨이가 메이트X를 각각 발표했다. 삼성전자는 다음달 26일 미국시장에서 1980달러(약 222만원)에, 화웨이는 상반기 중 2299유로(약 292만원)에 출시를 앞두고 있다. 이들 폴더블폰에는 구글의 운영체제(OS)가 들어갈 수 밖에 없다.
구글이 지난해 8월 WIPO에 특허출원한 폴더블폰 디스플레이 고안은 ‘얇고 높은 계수 층을 가진 중립축 운영 방식의 폴더블디스플레이(Foldable display neutral axis management with thin, high modulus layers)’란 제목으로 출원됐다. 분명, 이 특허는 디스플레이의 품질을 유지하면서도 접힘시 주름 문제를 해결해 줄 부품에 초점을 맞추고 있다.
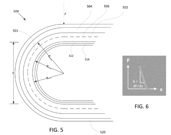
구글은 이른바 중립면(이 경우 OLED 패널)에 비교할 때 위치에 따라 영률(Young’s modulus)이 다른 소재를 다른 층에 사용하자는 아이디어다. 영률은 물체에서 일어나는 변형과 압력 사이의 관계를 나타내는 탄성특성 계수다.
폴더블폰용 디스플레이의 가장 큰 문제는 접을 때 서로 다른 층이 약간 다른 반지름으로 휘어지게 된다는 것이다. 구글은 이에 대응하기 위해 이 차이를 탄력적으로 보상하는 소재를 사용하고자 한다. 이론상으로는 디스플레이가 펼쳐질 때 중간에 ‘돌출부(bump)’가 없어진다는 뜻이 된다.
이미지 확대보기
이미지 확대보기
이미지 확대보기이 특허에서 발견된 흥미로운 점은 구글이 디스플레이 상단의 투명층에 유리섬유와 폴리머로 구성된 소재를 검토하고 있다는 점이다. 발표된 폴더블폰의 가장 큰 관심사 중 하나는 플라스틱 디스플레이가 더 쉽게 긁힐 수 있다는 점이다. 아마도 구글의 해결책은 훨씬더 내구성이 강할 것이다. 또하나는 구글이 책 스타일의 이른바 인폴딩(in-folding)방식 디자인보다는 과거 피처폰시대의 접는(cramshell) 방식 디자인을 선호한다는 점이다.
특허출원서 상의 조악한 도면대로라면 구글은 펼쳤을 때 태블릿이 되는 방식보다는 오늘날의 휴대폰과 비슷한 크기, 그렇지 않을 경우 더 작은 단말기를 만드는 쪽으로 기울고 있다.
심지어 도면중 하나는 두 번 접히거나 또는 서류상에서 말하는 "Z-접힘"이 있을 수 있다는 것을 암시하고 있다. 그리고 이 출원서는 접히는 층들이 동시에 확장과 압축을 할 수 있어야 하기 때문에 이같은 유형의 폴더블폰 제조가 훨씬 더 어려울 것임을 명확히 하고 있다. 구글은 그 문제에 대한 해결책도 가지고 있는 것으로 보인다.
구글 특허 도면에서 볼 수 있듯이, 구글은 현재 폴더블폰을 개발하는 다른 제조업체들과 마찬가지로 접는 문제를 해결해야 하는 어려움을 겪고 있다.
이미지 확대보기
이미지 확대보기하지만 특허출원서에는 “OLED 디스플레이 층을 반복적으로 구부려 반경 10mm 이하로 설정할 수 있다”고 명시하고 있다. 반지름 최소 허용치는 “1mm보다 크다”고 하는데 이는 전체적으로 2~9mm 사이를 의미할 수 있다. 현실적으로 말하면 향후 1, 2년 동안 우리는 아마도 5mm보다 작은 굴곡은 볼 수 없을 것이다. 그 이상 되면 디스플레이 재료에 필요한 힘과 탄력이 너무 커질 수 있다. 하지만, 기술 진보에 따라 결국 거기까지 도달할 수 있을 것으로 보인다.
언제 구글의 폴더블폰을 보게될지는 아직 불확실하지만, 이 분야의 경쟁이 치열할수록, 우리는 이 새로운 단말기를 더 빨리 보게 될 것이다.
이재구 기자 jklee@g-enews.com







































