이미지 확대보기‘추억의 세발 자전거, 현대자동차의 e모빌리티 기술과 만나다’
현대차의 전기차 브랜드 아이오닉이 전세계 전기차 시장에서 돌풍을 일으키며 쾌속질주하고 있다.
그러나 단순한 완성차 제조업체에서 글로벌 e모빌비티 선도업체로 변신을 꾀하고 있는 현대차의 개발목록을 자동차만 채우고 있는 것은 아니다.
20일(이하 현지시간) 미국 자동차 전문매체 오토에볼루션에 따르면 현대차가 최근 미국에서 특허를 낸 삼륜 전기자전거가 e모빌리티 시장에서 주목을 받고 있다.
◇현대차, 미국서 삼륜 전기자전거 특허 출원
이미지 확대보기이 자전거는 전통적인 분류 방식에 따르면 세발 자전거 또는 삼륜 자전거에 불과할 수 있고 복잡한 첨단 기술이 들어간 것도 아니다. 그러나 오토에볼루션에 따르면 새로 열리고 있는 e모빌리티 시장의 관점에서 보면 새롭게 이목을 끌기에 충분하다.
e모빌리티란 전기동력을 이용한 교통수단을 말하는 것으로 일상생활에서 이동수단으로 이용하거나 물류배송 수단으로 사용하는 1~2인용 개인형 이동수단을 일반적으로 일컫는다.
세그웨이로 대표되는 퍼스널 모빌리티를 비롯해 초소형 전기차, 전기자전거, 농업·특수용 전동차량 등이 이 분야에 속하는데 친환경 교통수단의 중요성이 갈수록 커지고 있는데다 신종 코로나바이러스(코로나19) 사태를 계기로 다른 사람과 접촉을 최대한 줄일 수 있는 이동수단의 중요성도 새롭게 부각되면서 전도유망한 시장으로 부상 중이다.
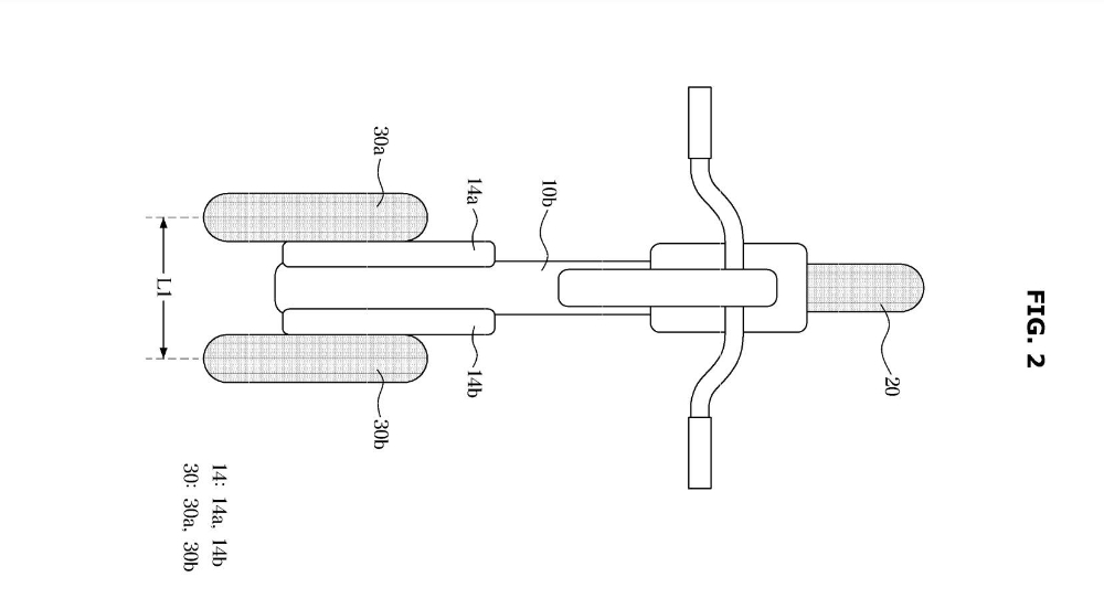
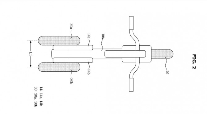
오토에볼루션에 따르면 현대차는 통상 ‘e트라이크’로 불리는 전기 삼륜자전거에 대한 특허를 최근 미 특허상표청(USPTO)에 출원한 것으로 확인됐다.
오토에볼루션에 따르면 이 개인용 e모빌리티가 관심을 끄는 이유는 유동인구가 많고 교통정체가 심한 대도시에 개인용 이동수단으로 쓰기에 매우 적합한 혁신적인 제품이기 때문이다.
이 제품이 혁신적인 이유는 뒤에 달린 바퀴 2개에 있다. 종래의 세발자전거라면 2개의 뒷바퀴가 당연히 자전거 차체(프레임)에 고정돼 있겠지만 이 자전거 경우에는 뒷바퀴 간격을 넓힐 수도 있고 좁힐 수도 있는 방식이다.
◇이 제품이 관심 끄는 이유
이미지 확대보기교통량이 많아 종종 도로가 막히는 도심의 상황을 전기차라고 해서 피할 수는 없다. 덩치가 큰 전기차의 대안으로 두바퀴로 굴러가는 작은 몸집의 전기 스쿠터가 요즘 흔히 쓰이는 이유다.
그러나 전기 스쿠터의 단점은 사람만 태울 수 있고 짐을 싣고 다니기는 어렵다는 것. 현대차가 이 제품을 고안한 이유이기도 하다. 현대차는 사람뿐 아니라 짐까지 실을 수 있는 개인용 이동수단이 없을까 연구한 끝에 이 제품을 고안했다.
뒷바퀴의 간격을 조정할 수 있는 방식도 처음이지만 이 제품이 주목받는 이유는 뒷바퀴의 간격이 자전거를 타는 사람과 주변 환경을 인식해 자동으로 조정된다는 점이다.
즉 나이가 많은 사람이 이 제품을 탈 경우에는 전복될 가능성을 줄이기 위해 뒷바퀴 간격을 최대한 넓혀주고 좁은 골목을 주행할 때는 알아서 뒷바퀴 간격을 좁혀주는 방식이다. 물론 사용자와 주변환경을 인식할 수 있도록 이 제품에는 카메라와 센서가 달린다.
현대차는 “종래의 이륜 자전거는 도로 환경이나 지형에 따라 넘어질 가능성이 있어 주행 안정성 측면에서 불안한 점이 있을 수 있지만 이 삼륜 전기자전거는 뒷바퀴가 사용자와 주변 환경에 맞춰 자동으로 조정되는 방식이기 때문에 안전하고 편하게 이동할 수 있는 것이 장점”이라고 설명했다.
이혜영 글로벌이코노믹 기자 rock@g-enews.com


































