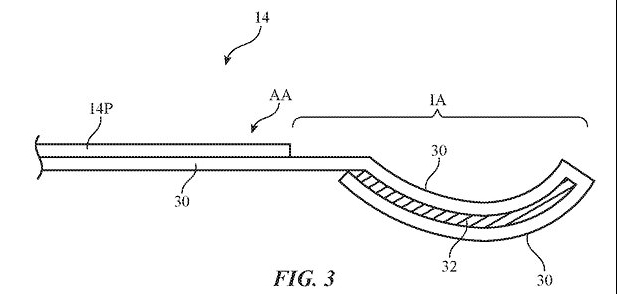
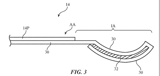
이미지 확대보기25일(현지 시간) 영국 데일리메일에 따르면 애플이 획득한 새로운 특허는 롤링 가능한 스마트폰 및 아이패드로서 이 특허 문서는 '한 개 이상의 롤러에 감겨져 있는 유연한 디스플레이'라고 설명하며, 이 디스플레이는 사용하지 않을 때 말아서 통과 같은 집에 끼워 넣을 수 있다.
그것은 사용자들이 화면을 꺼낼 수 있게 해주고, 사용자들이 원하는 넓기를 선택할 수 있게 해준다.
이 새로운 디자인이 상용화될 경우 많은 폴더블 스마트폰들이 봉착하고 해결하기 어려워하는 문제를 해결할 것으로 기대된다. 폴더블 스마트폰의 경우 자주 사용하게 되면 경첩이 열리고 닫히고를 반복해 닳게 되고 결국은 고장 난다.
특허 문서에 따르면 '기기에는 유연한 디스플레이를 탑재하고 추가 디스플레이 영역을 원할 때는 하우징 내에서 디스플레이를 배치하는 롤러가 있을 수 있다'라고 밝힌다. 또 '하우징의 터치스크린은 하우징에서 바깥쪽으로 스크롤된 유연한 디스플레이에 의해 오버랩될 수 있다'고 한다.
이미지 확대보기애플의 새로운 디자인은 화면에 화소 배열 형식으로 이미지를 표시하는 무선 송신기와 수신기 회로를 갖추고 있다. 자석이 양쪽에 있는 하우징에 사용된다.
애플은 이 디자인을 아이폰에만 국한시키는 것이 아니라 아이패드에도 적용할 수 있다고 지적하고 있다.
롤링 가능한 모델은 많은 스마트폰 제조사들이 폴더블 스마트폰을 개발할 때 겪었던 혼란을 피할 수 있는 방식으로 주목된다. 삼성전자의 2000 달러짜리 스마트폰은 불과 며칠 만에 고장을 일으킨 것으로 알려졌다. 대중에 공개되기 전에 검토할 스마트폰을 제공받았던 기자들은 화면이 깜박이고 검게 변하기 시작했으며 경첩에 문제가 생겼다고 말했다.
기술 뉴스 사이트 더 버지의 디터 본 편집장은 경첩에 결함이 있는 것 같다고 말했는데, 이 장치에 손가락이 닿으면 느낄 수 있는 약간의 부기와 함께 화면이 '변질'되는 원인이 되었다. 그는 "결국 화면이 완전히 망가질 조짐을 보이기 시작했다"고 말했다.
CNBC는 또 보호층이 그대로 유지된 상태에서도 전화가 제대로 작동하지 않는다고 보도했다. 스마트폰이 열리면 7.3인치 대형 화면을 구성하는 플렉시블 디스플레이의 왼쪽이 일관되게 깜박인다고 설명했다.
조민성 글로벌이코노믹 기자 mscho@g-enews.com

































