경첩닫은 부분 자동으로 '팝업'되는 기능 제공
폴더블폰 겸 소형 노트북에 ‘윈도OS’ 기대감
폴더블폰 겸 소형 노트북에 ‘윈도OS’ 기대감
이미지 확대보기MS는 지난해 여름 '안드로메다 프로젝트'로 불리며 ‘서피스폰(Surface Phone)'이란 이름으로 내놓으리란 기대감을 주었던 폴더블폰 개발계획을 보류한 것으로 보도됐다. 하지만 독일 빈도브스우니테드(windows united)는 이같은 MS의 특허확보 소식을 전해 MS의 폴더블폰에 대한 지속적 관심을 재각인시켰다.
MS가 받은 특허는 단말기에서 사용할 수 있는 경첩(힌지)에 초점을 두고 있다. 이 경첩은 서피스폰이 가로 방향의 노트북처럼 사용되도록 고안됐다. 상단에 있는 한 개의 디스플레이는 화면으로 사용되며 가상 쿼티(QWERTY) 키보드로 사용되는 하단 디스플레이와 함께 사용된다.
접을 수있는 디스플레이는 특허에 설명된 단말기의 양쪽에 배치된다. 따라서 주 화면은 접힌 구조의 외부 또는 내부에 위치한다. 주 화면이 안쪽으로 접히는 경우 보조 디스플레이가 단말기의 외부에 위치하는지 여부는 명확하지 않다.
이미지 확대보기
이미지 확대보기
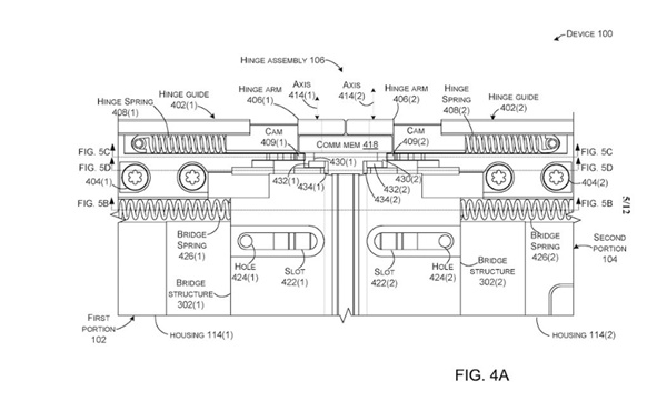
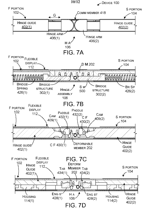
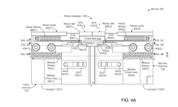
이미지 확대보기힌지는 또한 디스플레이를 360도 회전할 수 있도록 해주며 사용자가 단말기를 휴대폰을 바꿀 수 있도록 해 준다. 특허 출원도면에 나타난 그림은 사용자가 폴더를 열어 알림을 보는지 알려준다. 전반적으로 특허출원 도면은 경첩이 얼마나 복잡한지를 보여주는데, 응용분야의 일부를 읽음으로써 추론해 낼 수 있다.
특허출원서와 도면을 보년 MS는 또한 폴더블 디스플레이,힌지의 스트레스를 줄이고 손실을 줄이며, 스크린 뒤에 부품을 배치하는 데도 관심을 보인다. 스크린이 접히는 부분에도 접히지 않은 부분같은 질감을 제공하기 위해서다.
MS의 특허출원 문서에는 “기존 개념은 힌지 축과 관련된 첫번째와 두번째 단말기 부분을 회전식으로 잠그는 힌지 조립체를 사용하는 컴퓨터 등의 단말기와 관련돼 있다. 첫번째 힌지는 첫번째 부분과, 두번째 힌지는 두번째 부분과 연관돼 있다. 이 발명에서는 사용자가 힌지 조립체 중 일부를 작동할 때 힌지를 닫은 위치에서 힌지조립체가 자동으로 열리게 하는 팝업 기능을 제공하는 것으로 여겨진다. 기존 힌지 조립체 중 일부는 또다른 기능, 또는 부가기능으로서 첫 번째 또는 두 번째 부분이 회전하는 동안 한 개 회전축에만 도전체로 노출되는 힌지 조립체로 도전체를 제공한다”고 쓰고 있다.
이미지 확대보기
이미지 확대보기
이미지 확대보기지난해 말 IT기자인 브래드 샘은 MS가 올연말쯤 폴더블폰을 출시할 계획이라고 말했다. 하지만 그는 그것이 이전 렌더링에서 보여진것보다 커질 것이며 결국에는 주머니에 들어가지 않을 수도 있다고 말했다. 그럼에도 단말기가 휴대폰 기능을 제공하고 윈도10버전을 사용할 경우 MS는 큰 히트를 칠 수 있을 것으로 보인다.
이재구 기자 jklee@g-enews.com






































