이미지 확대보기
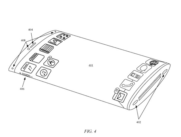
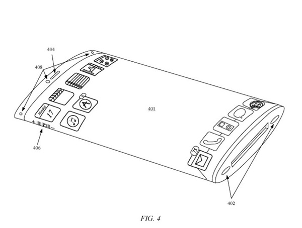
이미지 확대보기폰아레나는 24일(현지시각) 샤오미가 미믹스알파를 발표하면서 독자적인 ‘4G서라운딩 곡면 디스플레이(4D surrounding curved display)를 내세웠지만 이 디자인은 애플이 지난 2015년 9월28일 미특허청의 특허를 받은 애플 디자인과 너무나도 유사하다는 점을 지적했다.
실제로 최근 등장한 이른바 ‘폭포수 디스플레이(waterfall display)’로 불리는 커브드(곡면)디스플레이는 애플이 2013년 3월 발표된 특허출원서에서 아이폰 전후 좌우를 디스플레이로 두르는 방식으로 소개한 이른바 ‘랩어라운드(warp-around)’ 디스플레이와 같다. 애플은 이미 이 스크린(디스플레이)을 사용하는 단말기 디자인에 대해 지난 2015년 9월28일 미 특허청 특허를 받았다. 특허출원서 도면 속 단말기 측면에는 샤오미가 24일 발표한 미믹스 알파에 적용한 것과 비슷한 가상버튼도 그대로 표시돼 있다.
애플은 또 지난해 미국 특허청으로부터 ‘랩어라운드 하우징이 있는 전자 기기(Electronic device with wrap-around housing)’라는 제목의 특허를 받았다.
이미지 확대보기당시 랩 어라운드 디스플레이를 갖는 아이폰은 2개의 사용자 인터페이스(UI)를 갖게 될 것으로 추정됐다. 이 가운데 하나는 ‘투명 하우징 구성 요소를 갖는 중앙 부분’이고 두 번째는 ‘투명 하우징 구성 부품의 주변부 중 적어도 하나를 통해 제어 입력방식’으로 추정됐다.
샤오미는 능동형 유기발광소자(AMOLED)패널이 휴대폰 전후면을 모두 감싸고 베젤까지 없애면서 단말기 화면비(몸체 크기와 비교한 화면비율)가 무려 180.6%에 이르는 혁신적 기술력을 과시했다. 샤오미는 이 컨셉 단말기에서 측면에 있는 가상버튼으로 물리적 버튼을 대체했고, 통상 휴대폰 맨위의 상태 표시줄에 보이는 아이콘들을 측면으로 이동시켰다.
일부 열성팬들은 이 혁신적 휴대폰을 갖고 싶어하지만 샤오미는 이를 중국 내에서 한정적으로만 공급할 것으로 보인다. 가격은 1만9999위안(약 2800달러,약 337만원)으로 삼성전자의 폴더블폰(접이식폰) 갤럭시 폴드(약 240만원)나 다음달 나올 화웨이의 메이트X(예상가 2600달러, 약 312만원)보다 더 비쌀 것으로 예상된다.
샤오미가 24일 발표한 미 믹스 알파는 여전히 하나의 컨셉폰이고 샤오미도 이를 감안한 듯 제한된 수의 단말기를 생산할 계획이다.
이재구 글로벌이코노믹 기자 jklee@g-enews.com

































