출원서에 ‘전자기기’대신 ‘아이폰’으로 명시
이미지 확대보기애플이 접을 수 있거나 구부릴 수 있는 스마트폰에 대한 미국특허를 받았다. 사진=미특허청
페이턴틀리애플은 1일(현지시간) 애플이 접거나 굽힐 수 있는 첨단 카본나노튜브구조를 가진 아이폰에 대한 미국특허를 확보했다고 전했다. 앞서 지난 9월 애플이 접는 스마트폰용 소재중 하나로 세라믹도 검토하고 있다는 사실이 드러난 바 있다.
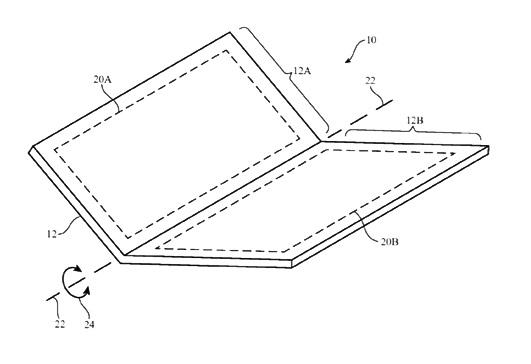
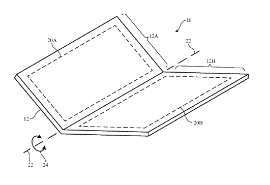
애플은 지난 2014년 출원해 이번에 특허받은 기술에서 일반적으로 사용하는 ‘전자기기’라는 명칭 등을 사용하는 대신 ‘아이폰’이라는 이름을 명시하고 있다. 또 아주 단순화시키긴 했지만 구부릴 수 있는 디스플레이를 사용한 새롭고 친숙한 접는 아이폰디자인 그림과 컨셉을 사용하고 있다.
출원서류는 접는 아이폰에 사용될 가능성있는 재료로 세라믹,글래스,섬유, 알루미늄,플라스틱 등도 거론하고 있다. 특히 사용될 가능성이 가장 높은 재료로 탄소나노튜브를 구체적으로 거론하고 있다.
이미지 확대보기출원서에 따르면 “도전성 탄소나노튜브 통로는 유연하고 균열에 견딜수 있는 신호가 지나가는 길(signal lines)을 형성할 수 있다. 탄소나노튜브 구조는 연성 인쇄회로 케이블, 인쇄회로기판(PCD), 경성(rigid)PCB같은 신호케이블,플렉서블테일을 가진 단단한부분을 포함하는 인쇄회로...디스플레이구조의 일부, 디스플레이용 정전용량형 터치센서어레이나 트랙패드같은 터치센서의 일부, 카메라 구조, 안테나 구조, 하우징구조, 내부기기 구조, 전기부품, 기판, 브래킷, 하우징 벽, 다른 구조들, 또는 이들 구조 결합체에 들어갈 수 있다”고 쓰고 있다.
이들 특허는 애플이 접히고 굽힐 수 있는 단말기에 대한 관심을 보이고 있다는 증거다. 하지만 차기 아이폰8에서 반드시 이 특허기술이 사용된다고 할 수는 없다.
이미지 확대보기
이미지 확대보기이재구 기자 jklee@



































