밴드에 전원공급 기술 결합시킬 가능성도
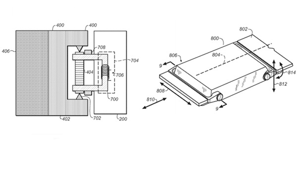
이미지 확대보기폰아레나는 22일(현지시간) 미 특허청 발표를 인용, 애플이 내부에 첨단기술을 포함하는 웨어러블기기용 시계줄에 대한 특허를 출원했다고 전했다.
출원서는 피드백 햅틱(촉각) 엔진과 다른 하드웨어가 시계줄에 통합돼 웨어러블 기기에서 함께 작동하는 설계를 제안하고 있다.
이 기술은 ‘촉각 반응을 갖는 밴드 부착 메커니즘’이란 이름으로 특허출원됐다. 이는 애플이 향후 내놓을 애플워치나 미래의 웨어러블기기에 전원공급용 첨단 기술을 결합시키려 한다는 것을 보여준다.
이미지 확대보기출원서에 따르면 제안된 시계줄은 전자기 기술·압전 기술·전기 반응성 폴리머 등을 포함하는 하드웨어를 통합하며, 시계줄이 시계의 좌우나 측면으로 이동할 수 있게 한다. 출원서 상의 다른 사용 예를 보면 시계줄은 축을 중심으로 위아래, 또는 그 주변으로 회전하게 돼 있다.
이는 기기 크기를 줄여주는 반면 하드웨어 구성 부품의 위치를 바꿔주면서 사용자 경험 및 피드백 알림시스템을 다양하게 만들어 준다.
애플이 내년에 나올 애플워치에 이 개념을 포함시킬지는 아직 명확치 않다. 하지만 조만간 애플이 이 특허출원한 것과 같은 시계줄을 적용한 기기를 내놓을 가능성을 배제하기 어렵다.
하드웨어가 통합 된 차세대 시계 밴드는 기기를 얇게 만들어주면서 사용자경험을 풍부하게 만들어주겠지만 동시에 더 이상 애플 써드파티의 값싼 시계줄을 사용할 수 없게 된다는 것을 의미할 수도 있다.
이재구 기자 jklee@




















![[속보] 호르무즈 사태 대응 국제 화상회의 개시…이 대통령 참석](https://nimage.g-enews.com/phpwas/restmb_setimgmake.php?w=80&h=60&m=1&simg=202603232041310011478e43e3ead11513824142.jpg)












