미 다이내믹스, 삼성이 마그네틱 스트라이프 통신단말기 파형 발생 시스템 등 사용
이미지 확대보기14일(현지시각) WIPR·IP프로 등에 따르면 ITC는 지난 12일 삼성전자 스마트폰, 스마트워치에 대한 특허침해 조사를 시작한다고 발표했다.
ITC는 8월12일자 관련 조사 공고를 통해 미국 전자지불결제용 단말기 제조사 다이내믹스(Dynamics Inc.)의 제소에 따라 ‘다기능 에뮬레이터(multifunction emulators)’가 장착된 삼성전자 단말기를 대상으로 조사를 할 것이라고 말했다.
다이내믹스사는 미국 펜실베이니아에 본사를 두고 있는데 지난달 12일 ITC에 삼성전자에 대한 특허침해 여부를 조사해 달라고 요청했다. 이 회사는 삼성전자의 한국법인과 미국법인이 특정 휴대폰과 스마트워치 제조시 자사 특허기술을 사용함으로써 여러 특허를 침해하고 있다고 주장한 것으로 알려졌다. 또 일부 삼성전자 제품의 미국 내 판매와 수입이 미 관세법을 위반했다며 ITC에 삼성전자 제품을 대상으로 한 부당행위 중지 및 폐기 명령을 내려 줄 것도 요청했다.
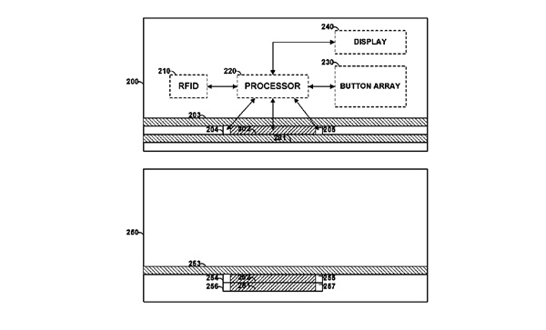
이 가운데 ‘동적 마그네틱 스트라이프 통신 단말기용 파형 생성을 위한 시스템과 방법(SYSTEMS AND METHODS FOR WAVEFORM GENERATION FOR DYNAMIC MAGNETIC STRIPE COMMUNICATIONS DEVICES)(미특허 8,827,153 B1호)의 특허내용은 다음과 같다.
"동적 자기 스트라이프 통신 단말기는 자기 스트라이프 에뮬레이터로 제공된다. 호프만-서폰테인 애플리케이션 IC같은 단말기는 파형발생기를 포함할 수 있다. 메모리에서 데이터를 검색하고 이 검색 데이터에서 파형을 생성해 자석에 의해 통신할 수 있는 형태 발생기다."
이 특허 출원일은 2012년 7월17일, 특허 부여일은 2014년 9월9일이다.
이미지 확대보기
이미지 확대보기또 다기능 자기 에뮬레이터를 가진 카드와 단말기, 그리고 이 목적으로 사용하기 위한 방법(CARDS AND DEVICES WITH MULTIFUNCTION MAGNETIC EMULATORS AND METHODS FOR USING SAME)(미특허 US 10,032,100)내용은 다음과 같다.
"결제카드(신용 및/또는 직불 카드)는 자기 스트라이프 판독기에 정보통신을 조작할 수 있는 마그네틱 에뮬레이터와 함께 제공된다. 금융 거래를 검증하는 데 사용된 정보는 시간에 따라 암호화되므로 검증 서버는 그 시간동의 거래를 검증하기 위한 적절히 암호화된 정보 영수증을 필요로 한다. 그런 동적 정보는 다음과 같은 에뮬레이터를 사용해 통신할 수 있다. 즉 마그네틱 스트라이프 리더를 통해 카드를 쓴 결제할 수 있지만 그럼에도 시간에 따라 다른 정보르 통신한다. 에뮬레이터는 정보를 수신하고 다양한 수신자에게 정보를 전달할 수 있다. 예를 들면 RFID수신기가 그렇다."
이 특허 출원일은 2016년 4월25일, 특허부여일은 2018년 7월24일이다.
다이내믹스는 삼성전자가 ▲ ‘153 특허권'가운데 5개 ▲’100 특허권 가운데 20개 ▲‘631 특허권 가운데 15개 ▲’545 특허권 가운데 16개의 특허를 침해했다고 주장하고 있다.
ITC는 삼성전자가 20일 이내에 고소 고발 및 수사 통지서에 대한 답변서를 제출해야 한다고 밝혔다.
이재구 글로벌이코노믹 기자 jklee@g-enews.com


































