美 특허청, 테슬라 ‘레이저 와이퍼’ 특허 승인
이미지 확대보기테슬라는 단순히 세계 최대 전기차 제조업체로 그치지 않는다.
다양한 기술 혁신의 결과물을 지치지 않고 특허로 출원해왔기 때문. 내연기관 자동차에 매달려온 종래의 완성차 제조업체들이 바짝 긴장할 수 밖에 없는 이유다.
향후 자동차의 모습을 바꿔놓을지도 모를 테슬라의 또한가지 획기적인 기술이 특허를 인정 받았다. 자동차 앞유리에 내리는 비나 먼지 등을 제거해주는 장치, 즉 ‘와이퍼’를 완전히 사라지게 할 수도 있는 기술이다.
그 이름은 가칭 ‘레이저 와이퍼’다.
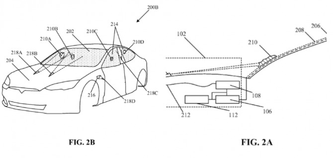
◇레이저 와이퍼
11일(현지시간) 전기차 전문매체 일렉트렉 등 외신에 따르면 미국 특허청은 테슬라가 지난 2019년 출원한 레이저 와이퍼 관련 특허에 대한 심사를 진행한 결과 지난주초 승인 결정을 내렸다.
테슬라가 개발해 특허를 획득한 이 기술의 핵심은 ‘펄스 레이저’. 연속출력 레이저 또는 연속파 레이저로도 불리는 펄스 레이저는 파장의 폭이 극단적으로 짧아 끊김 없이 지속적이고 연속적으로 발생하는 레이저광이다.
레이저광이 연속적으로 출력되기 때문에 자동차 앞유리에 쏘여지면 물기나 먼지를 비롯한 이물질을 순식간에 제거하는 작업이 가능하다.
레이저 와이퍼가 상용화되면 자동차 유리에만 국한되지 않을 것으로 보인다. 일렉트렉에 따르면 테슬라는 레이저 와이퍼 특허에 관한 출원을 신청하면서 테슬라가 보급 중인 가정용 태양광 패널을 청소하는데도 이 기술을 적용할 수 있다고 밝힌 바 있기 때문이다.
◇사이버트럭에 첫 적용될 가능성 커
레이저 와이퍼 특허가 승인됐다는 소식이 전해지면서 테슬라가 지난 2019년 11월 첫 공개한 미래형 전기트럭 사이버트럭 시제품에 와이퍼가 달려있지 않았던 이유도 사실상 확인된 것으로 보인다.
일렉트렉에 따르면 특허를 출원한 레이저 와이퍼의 승인에 수년내 나올 것을 기대하고 사이버트럭 시제품에 와이퍼를 일부러 장착하지 않았을 가능성이 있다는 관측이 나오고 있기 때문이다.
바꿔 말하면 내년 중 텍사스주 오스틴 기가팩토리5에서 양산에 들어갈 예정인 사이버트럭에 레이저 와이퍼가 처음으로 적용될 가능성이 있다는 얘기다.
일렉트렉에 따르면 테슬라가 앞서 지난 1월 승인을 받은 ‘전자기 와이퍼’와 레이저 와이퍼 둘 가운데 적어도 하나는 사이버트럭에 적용될 가능성이 있는 것으로 관측된다.
나아가 레이저 와이퍼가 이후 생산되는 테슬라 전기차에 본격적으로 장착되기 시작하고 관련업계에서도 채택 움직임이 일어날 경우 기존 와이퍼가 퇴조의 길에 들어서는 상황도 머잖아 벌어질 가능성을 배제할 수 없다.
다만 일렉트렉은 “특허가 승인을 받았다고 해서 반드시 상용화로 이어지라는 법은 없기 때문에 더 지켜볼 여지가 있다”고 덧붙였다.
이미지 확대보기이혜영 글로벌이코노믹 기자 rock@g-enews.com

































